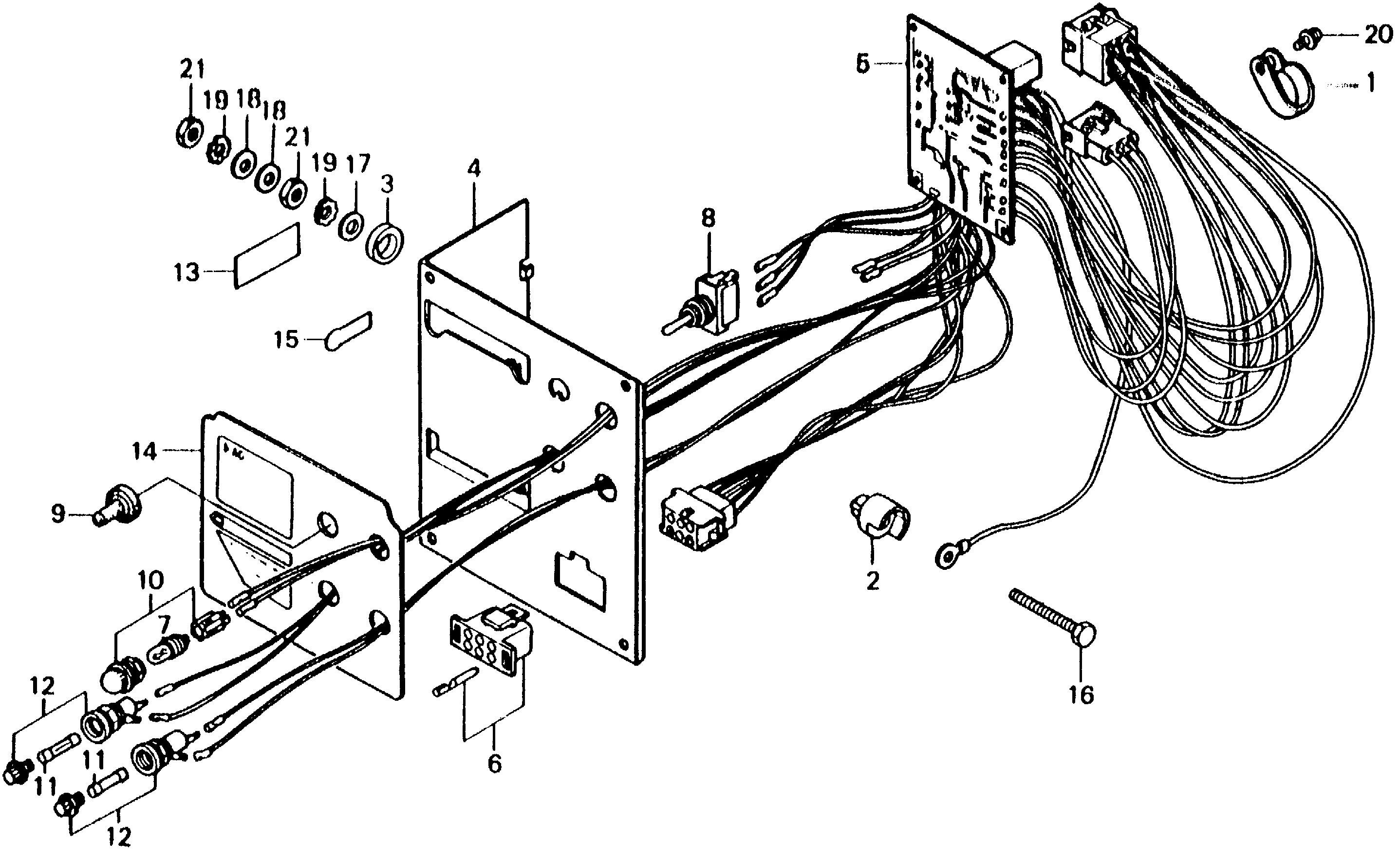
Ref No
Part Number
Description
Serial Range
Qty
Price
Ref No 1
Part Number 30566-895-000
Description CLAMP C, CABLE
Serial Range 1000001 - 9999999
Qty
Price $4.52
Add To Cart
Ref No 2
Part Number 31211-895-300
Description COLLAR A, D.C. TERMINAL
Serial Range 1000001 - 9999999
Qty
Price $15.28
Add To Cart
Ref No 3
Part Number 31213-895-300
Description COLLAR B, D.C. TERMINAL
Serial Range 1000001 - 9999999
Qty
Price $6.24
Add To Cart
Ref No 4
Part Number 31402-895-010ZA
Description PANEL, CONTROL BOX *NH116M* (URBAN SILVER METALLIC) (NOT AVAILABLE)
Serial Range 1000001 - 9999999
Ref No 5
Part Number 31451-895-003
Description CIRCUIT ASSY., PRINT
Serial Range 1000001 - 9999999
Ref No 6
Part Number 06560-ZB5-100AH
Description CONNECTOR ASSY., PLUG
Serial Range 1000001 - 9999999
Qty
Price $9.32
Add To Cart
Ref No 7
Part Number 34909-895-003
Description BULB (12V2W)
Serial Range 1000001 - 9999999
Qty
Price $10.52
Add To Cart
Ref No 8
Part Number 36120-895-004
Description SWITCH ASSY., ENGINE (NOT AVAILABLE)
Serial Range 1000001 - 9999999
Ref No 9
Part Number 36121-895-004
Description CAP, SWITCH
Serial Range 1000001 - 9999999
Ref No 10
Part Number 37561-880-300
Description HOLDER, LAMP
Serial Range 1000001 - 9999999
Ref No 11
Part Number 38201-895-003
Description FUSE (NOT AVAILABLE)
Serial Range 1000001 - 9999999
Ref No 12
Part Number 38211-ZB5-831
Description HOLDER, FUSE
Serial Range 1000001 - 9999999
Qty
Price $30.56
Add To Cart
Ref No 13
Part Number 87512-895-000
Description MARK, WIRE CAUTION
Serial Range 1000001 - 9999999
Ref No 14
Part Number 87552-895-010
Description PLATE, CONTROL PANEL (LOWER)
Serial Range 1000001 - 9999999
Ref No 15
Part Number 87553-895-000
Description MARK, BATTERY
Serial Range 1000001 - 9999999
Ref No 16
Part Number 90102-895-000
Description BOLT, D.C. TERMINAL
Serial Range 1000001 - 9999999
Qty
Price $4.26
Add To Cart
Ref No 17
Part Number 90405-671-000
Description WASHER, EQUALIZER (8MM) (NOT AVAILABLE)
Serial Range 1000001 - 9999999
Ref No 18
Part Number 90501-895-300
Description WASHER, D.C. TERMINAL
Serial Range 1000001 - 9999999
Qty
Price $2.40
Add To Cart
Ref No 19
Part Number 90502-895-003
Description WASHER, STAR
Serial Range 1000001 - 9999999
Qty
Price $2.40
Add To Cart
Ref No 20
Part Number 93891-04010-08
Description SCREW-WASHER (4X10)
Serial Range 1000001 - 9999999
Qty
Price $1.40
Add To Cart
Ref No 21
Part Number 94002-08300-0S
Description NUT, HEX. (8MM)
Serial Range 1000001 - 9999999
Qty
Price $1.80
Add To Cart